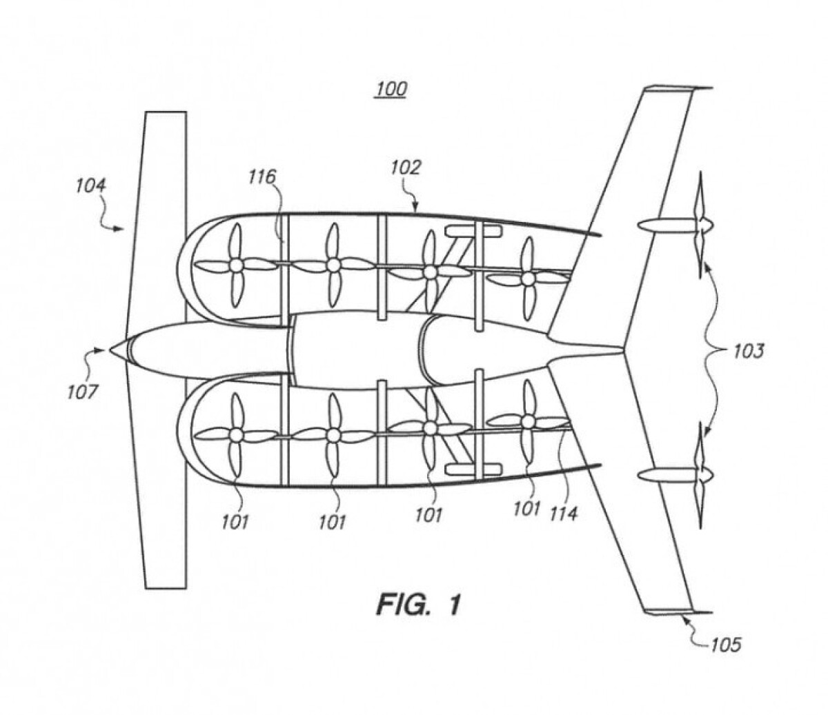
Zakladateľ Googlu si nechal vytvoriť lietajúce autá, minul 100 miliónov

1 / 6
zdielať
zdielať
sledovať
mReportér edit
Komentáre k článku
Zdielajte článok

Zakladateľ Googlu si nechal vytvoriť lietajúce autá, minul 100 miliónov

zee-aero-flying-car-7_2026c623.jpg
zee-aero-flying-car-6_4312d3db.jpg
zee-aero-flying-car-5_352aa3b5.jpg
zee-aero-flying-car-4_c53e8835.jpg
zee-aero-flying-car-2_0ec2abea.jpg
zee-aero-flying-car-1_d87a6788.jpg